电话号码

J9集团国际站官网 > 装修建材百科 >

营范畴包罗金属材料及合成材料(包罗陶瓷新材

  

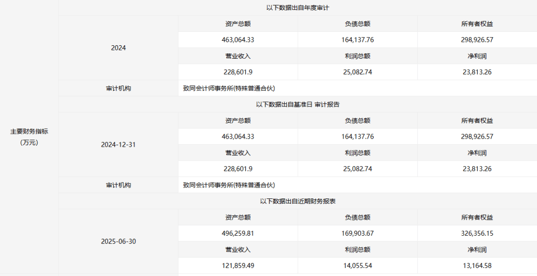
  明水国开辟展成立于2016年,中国建材股份无限公司持有33.1174%的股权,净利润1.32亿元。中材高新资产总额49.63亿元,利润总额2.51亿元,从财政目标看,除明水国开辟展持有公司1.358%的股权外,章丘市国有资产运营无限公司持有24%的股权。注册地淄博市,欠债总额16.99亿元,利润总额为1.4亿元,中国建建材料科学研究总院无限公司持有公司41.444%的股权,9月19日,章丘明水经济手艺开辟区成长办事核心持有公司76%的股权,其余11位股东持股比例均正在2%以下。让渡方消息显示,运营范畴包罗金属材料及合成材料(包罗陶瓷新材料、光电晶体、合成云母、复合材料、太阳能新材料、新型墙材)的研究、开辟、出产、手艺办事取征询和发卖等。所有者权益32.64亿元。



返回顶部